
MILPRF19500/521E
1.4 Characteristics, radiometric (physical), and photometric (visual).
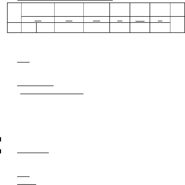
C
IV1
IV2
VF
IR
λV
Limits
Color
VR = 0
IF = 20 mA dc
IF = 20 mA dc
IF = 20 mA dc
VR = 3 V
(wave
f = 1 MHz
Θ = 0 degrees
Θ = 30 degrees
length)
mcd
mcd
V dc
nm
pF
µA dc
Green
Min
3.0 (1)
20.0 (2)
1.5
525
Max
3.0
600
1
100
(1) Applies to JAN1N6094, JANTX1N6094, JANM19500/52101, and JANTXM19500/52102.
(2) Applies to JAN1N6611, JANTX1N6611, JANM19500/52103, and JANTXM19500/52104.
2. APPLICABLE DOCUMENTS
2.1 General. The documents listed in this section are specified in sections 3, 4, or 5 of this specification. This
section does not include documents cited in other sections of this specification or recommended for additional
information or as examples. While every effort has been made to ensure the completeness of this list, document
users are cautioned that they must meet all specified requirements of documents cited in sections 3, 4, or 5 of this
specification, whether or not they are listed.
2.2 Government documents.
2.2.1 Specifications, standards, and handbooks. The following specifications, standards, and handbooks form a
part of this document to the extent specified herein. Unless otherwise specified, the issues of these documents are
those cited in the solicitation or contract.
DEPARTMENT OF DEFENSE SPECIFICATIONS
Semiconductor Devices, General Specification for.
DEPARTMENT OF DEFENSE STANDARDS
Test Methods for Semiconductor Devices.
(Copies of these documents are available online at https://quicksearch.dla.mil or https://assist.dla.mil or from the
Standardization Document Order Desk, 700 Robbins Avenue, Building 4D, Philadelphia, PA 191115094.)
2.3 Order of precedence. Unless otherwise noted herein or in the contract, in the event of a conflict between the
text of this document and the references cited herein, the text of this document takes precedence. Nothing in this
document, however, supersedes applicable laws and regulations unless a specific exemption has been obtained.
3. REQUIREMENTS
3.1 General. The individual item requirements shall be as specified in MILPRF19500 and as modified herein.
3.2 Qualification. Devices furnished under this specification shall be products that are manufactured by a
manufacturer authorized by the qualifying activity for listing on the applicable qualified manufacturer's list (QML)
2
For Parts Inquires call Parts Hangar, Inc (727) 493-0744
© Copyright 2015 Integrated Publishing, Inc.
A Service Disabled Veteran Owned Small Business