
MILDTL28803/4D
TABLE II. Truth table for four segment sign display (dot matrix) (circuit configuration 2).
Output (Δ = segment lit)
Input
Display
H
J
K
L
1/
H
J
K
L
R
R
S
T
U
S
T
U
2/
Δ
Δ
Δ
Δ
O
O
O
O
Δ
Δ
O
O
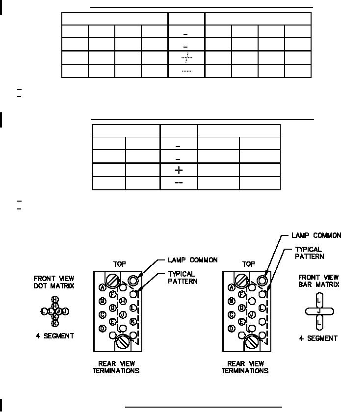
1/ See figure 3 for four segment sign display output letter assignments.
2/ See figure 4 (4 SEG and 2-7 SEG pattern) for four segment sign display output letter assignments.
TABLE III. Truth table for four segment sign display (bar matrix) (circuit configuration 2).
Output (Δ = segment lit)
Input
Display
J
L
1/
J
L
S
U
2/
S
U
Δ
Δ
O
O
Δ
O
1/ See figure 3 for four segment sign display output letter assignments.
2/ See figure 4 (4 SEG and 2-7 SEG pattern) for four segment sign display output letter assignments.
FIGURE 3. Four segment sign display (dot matrix and bar matrix).
5
For Parts Inquires call Parts Hangar, Inc (727) 493-0744
© Copyright 2015 Integrated Publishing, Inc.
A Service Disabled Veteran Owned Small Business